[pear_error: message="Success" code=0 mode=return level=notice prefix="" info=""]

今、波佐見発の陶器は、トレンドの後追いに過ぎない。様々なデザインで、少し売れるものを作って、次々に新商品追加、廃番を繰り返す。これでは、いつまで経っても、作り手も、売り手も、買い手も疲れるだけである。今、じっくりと腰を据えて、30年間食卓に生き残る食器を創り出すしかない。もちろん、それは並大抵のことではないだろう。ただし、その製品は世界中の食卓を席巻する。猪口でも、皿でも、お椀でも、湯呑みでもなんでもよい。とにかく一品で波佐見を形に表したものを創る。それ一個でよく、それ一個でしか駄目である。App...
黒木町日記 | 2014.06.03 Tue 01:10
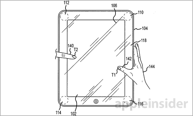
○ダミーの特許画像 ○ASUS Padfone 皆さんテレビを見ながらタブレットをしたりスマホを見たりしますが、タブレットしながらスマホはしませんね。 Apple始めIT界の巨人たちはかなりのリサーチをしていますが、これだけは見抜けなかったようです。 人は多種多様な使い方をしますから。 そこに目を付けたのが米グーグル。今までも台エイスースがスマホを装着できるタブレットを販売していましたが、グーグルはそれを特許に出し、Nexus5やGalaxy S5を母船としてタブレット戦略に挑むつもりです。 米国サイトで...
[ファブレット比較 | 2014.06.02 Mon 18:39
○広告最大手 前回IT業界はハードウェアとソフトウェア、そして広告で成り立っていると言いましたが、ネットに関して言えば広告で成り立っています。ヤフーとかグーグルですね。 そこで個人が事業をしたいとか方向性が間違っています。ネットで商売したいなら企業に入り広告を打つなりジャパネットたかたみたいに通販するなりそれが常道ってものです。 ネットはお金かかりませんよね。その恩恵を受けているのですから、方向性の違うことをしてはいけません。 ただ、前回のブログで儲ける仕組みの3つは例外であると...
[ファブレット比較 | 2014.06.02 Mon 15:42
○日本で始めてカラクリを認知させた平賀源内発明家 日本エレキテルは経済を動かすか ある3月期の決算を読んでいたらその作者が「自動車ばかりの決算です。」と愚痴っていました。 これだけネットが普及して、DeNAもmixiもGREEもあるのに自動車ばかり報道されて不愉快だと見て取れます。 しかし実態がないのだからしょうがないです。DeNAやGREEはゲーム会社。ヤフーは広告会社です。日本IT業界で実態があるのは携帯の大手3社とゲーム会社のみです。 アップルはハードウェアを売る会社、グーグルは広告、マイクロソフ...
[ファブレット比較 | 2014.06.02 Mon 15:32
ブランド戦略 テレビCMやイベント開催をはじめ、あの手この手の方法で顧客にアピールする自動車メーカー。なかでも、レクサスやメルセデス・ベンツ、アウディといった高級車のブランド発信戦略がいま注目を集めている。各社に共通するキーワードは「カフェ・レストラン」。「自動車=主役=商品」という従来のショールームとは一線を画する試みだ。“若者のクルマ離れ”が叫ばれる中、ブランド戦略はどう変わったのか。トヨタ自動車の体験スペース「INTERSECT BY LEXUS」(東京・南青山)を訪問し、カ...
Concept Editor 企画のネタ! | 2014.06.01 Sun 11:29
カリフォルニアのAerofexが、2017年に空飛ぶバイクを実現すると発表した。地上3メートルの高さを時速72kmで飛び回るだろう。こんなものは、SFシットコム『フューチュラマ』のエピソードでしか見たことがなかっただろう。しかし、2017年には、街なかで目の当たりできるかもしれない。カリフォルニアに本拠地を置くAerofex社は、空飛ぶバイク「Aero-X」の発表を行った。85,000ドルのこの乗り物は、2人の人間(最大140kg)を輸送することができ、地上3メートルの高さに浮かんで時速72kmにまで到達する。これは空想ではなく、何年も続いた...
Concept Editor 企画のネタ! | 2014.06.01 Sun 11:24
ホテルオークラは5月23日、日本を代表するホテルの1つである「ホテルオークラ東京」(東京都港区)の本館を建て替えると発表した。総事業費はおよそ1000億円。本館は2015年8月末に営業を休止した後、9月から解体工事に着手する。19年2月までに高さ約195mと約85mの2棟のビルを建設して、同年春の営業再開を目指す。建て替え計画のイメージ。谷口建築設計研究所が基本検討を手掛けた。右端に建つのは1973年に完成した別館(資料:ホテルオークラ) 高さ約195mの超高層棟は地下6階、地上38階建てで、ホテルのほか4〜21階にオフィス...
Concept Editor 企画のネタ! | 2014.05.30 Fri 15:35
ECモール最大手の楽天が2014年5月29日、東京の渋谷公園通りに初の常設リアル店舗「楽天カフェ」をオープンした。 3フロア85席からなる同店は、楽天のサービスをリアルの場で体験できることがウリ。楽天市場の人気スイーツがその場で食べられるほか、コーヒーやアルコール類なども提供する。楽天カードで決済すると、コーヒーや紅茶が半額になるサービスもある。「楽天カフェ」住所/東京都渋谷区神南1-20-6 マ・メゾンしぶや公園通りビル1〜3階、営業時間/11時〜23時、定休日/なし、席数/85席 “日本最高速”のWi-Fi導入、コンセ...
Concept Editor 企画のネタ! | 2014.05.30 Fri 15:24
早いもので5月も終わろうとしてます。6月は梅雨シーズンの到来。しかし、南国沖縄は一足早く梅雨明けし、夏本番を迎えます。それと時期をあわせるように、沖縄宮古島は本格的なマンゴーシーズンを迎えます。今年の出来は例年並みとか。********************************2014年マンゴー生産量、前年並み581トン予想 沖縄県宮古地区青果物流通対策会議が9日、沖縄県宮古合同庁舎で行われた。 この中で2014年産マンゴーの生産予測が報告され、 ほぼ前年並みの581?が見込まれている。 出荷...
Concept Editor 企画のネタ! | 2014.05.30 Fri 13:44
○ヘッドホンの専業メーカーであることがiPod再興には必要でした。 ジョブズ氏亡き今、Appleに新たな微動がないと揶揄されてきました。 iPodはAppleそのものを変えたわけですが、それを再生させるのがCook CEOの意図です。つまりCook式Appleの方程式を音楽のマジックで作る。 Beatsはシンボルとしてふさわしく、高収益という面でも何としても手に入れたいブランドでした。ミュージシャンが参加していることも重要。BoseやONKYO,Harman Kardon,YAMAHAなども候補に上がりそうですが、新興ということが重要でAppleと未来を...
[ファブレット比較 | 2014.05.29 Thu 10:05
全1000件中 761 - 770 件表示 (77/100 ページ)